最近,“三孩生育政策”引起热议,不少人依然对生娃之事“望而却步”。其中经济压力自然是主要因素,而对于女性群体而言,怀胎十月孕育生命本身就绝非易事。
那么,是否有办法让女性摆脱生育的困境?
你或许已经想到了科幻设定中的人造子宫,没错,科学家们百年前就开始这样想了!
在大众的呼声里,人造子宫是否有机会被提上日程?| 微博网页截图
……那些卵子一个挨一个地从试管里被转移到更大的容器里,他们灵巧地将腹膜的衬里裁开,放入桑葚胚,灌入生理盐水……
——摘自阿道司·赫胥黎的反乌托邦小说《美丽新世界》
代达罗斯,或科学与未来?
1923年2月4日,在剑桥大学的“异教徒讨论俱乐部”(Heretics Discussion Club,当时活跃于剑桥地区的一个不信仰基督教或任何宗教的知识分子团体),英国生理学家和哲学家约翰·斯科特·霍尔丹(John Scott Haldane)做了一场令人印象深刻的演讲《代达罗斯,或科学与未来》,他虚构了一封150年后一名本科生写给导师的信。这封假想信中描述了1951年的两位科学家杜邦和施瓦茨从一名死去的女子体内取出卵巢,并在液体中保存了长达二十年。在这期间,这颗卵巢每个月都会产生新鲜的卵子,其中90%都可以受精并以“体外发育”(ectogenesis)的方式成长为足月的婴儿。不仅如此,通过这封来自未来的信,霍尔丹还大胆预测了在2073年,仅有30%的孩子来自母亲的子宫[1]。
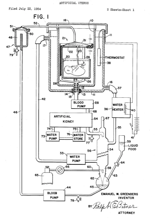
你可以想象这场演讲在那个时代掀起的是怎样的巨浪,但显然,当年技术与伦理的双重限制并未让霍尔丹的“预言”成真,哪怕到了1954年,伊曼纽尔·格林伯格 (Emanuel M. Greenberg) 为人造子宫的设计所申请的专利也仅是一个粗糙的设想[2]。
格林伯格的设计包括一个用来放置充满羊水的胎儿的水箱、一个连接到脐带的机器、血泵、一个人造肾脏和一个热水器 | 参考文献[2]
为早产儿准备的“温床”
人造子宫作为一个颇具争议的话题在二十世纪中晚期被反复提及与讨论,其支持者们的终极目标虽然考虑的是解放女性面临的生育压力,但从更为实际的角度出发,他们开始立志于借此提高早产儿的生存率。
有数据表明,不到23周的早产儿生存的可能性几乎为零,虽然24周的存活率为55%,但是对于23周的宝宝们来说,存活率仅有23%。
那么人造子宫是否有机会拯救这些将要提前夭折的宝宝呢?
1987年,关注早产儿生存问题的日本顺天堂大学教授桑原义典(Yoshinori Kuwabara)开发了一种称为EUFI(Extrauterine Fetal Incubation System)的系统,即宫外胎儿孵化。
通过创造与母山羊体内相似的人造羊水环境,桑原义典的团队成功的让发育到17周的山羊胎儿在体外成活了三周至足月,但因为山羊胎儿在扭动和踢腿时往往会夹住或拉出导管,因此桑原用肌肉松弛剂使它们瘫痪。松弛剂的弊端是让胎儿无法在没有帮助的情况下站立或呼吸,因此,当研究人员在 4 周后移除呼吸机时,山羊就在数小时内死亡[3]。
桑原设计的系统中,山羊胎儿被人造羊水包围在橡胶环境中,并与体外膜氧合器相连,血液从脐动脉排出并返回脐静脉,灌注的血液通过 O2、N2 和 CO2 气体的混合物进行再循环 | 参考文献[3]
到了2017年,费城儿童医院的阿南·弗雷克(Alan Flake)成功将发育到中期的山羊胎儿在“人造子宫”中维持了4周,让这只小羊幸运的长到了能离开羊水环境使用普通呼吸机生存的月龄[4]。
弗雷克设计的系统中,山羊胎儿被人造羊水包围在聚乙烯薄膜袋中,通过脐带接口连接气体交换系统,形成封闭的流体人造环境 | 参考文献[4]
小羊在人造子宫中呼吸 | 参考文献[4]
完整的孕育生命
——用细胞还是用机械造子宫?
1987到2017,三十年间,两只小羊的命运让我们看到了人造子宫挽救早产儿生命的曙光,科学的脚步仍在前进。
在众多科学家出于伦理考虑倾向于仅用人造子宫帮助早产儿时,少数人依旧相信可以完全依托人造子宫孕育生命,其中就有美国康奈尔大学生殖医学和不育症研究中心的负责人刘洪清博士。
与之前依托机械的模式完全不同,刘洪清所做的是在体外重新构建出“子宫”这个器官。这个思路源自于她研究体外受精实验的优化方案,自2001年起[5],她就开始在实验室培养组织子宫内膜。她在植入前将受精的人类卵子与子宫内膜细胞一起培养,使子宫内膜细胞首先在不到1厘米宽的塑料井中的胶原蛋白基质中生长,让细胞形成类似于子宫内膜组织的多层栓塞[6]。
最终筑造出一个由胶原质和软骨素构成可以被生物分解的子宫形状的支架,然后在上面“播种”子宫内膜细胞,当稳定后将用作支架的物质分解掉,就顺利的构建了三维的“人造子宫”。
2003年,刘洪清的团队让小鼠胚胎顺利的在人造子宫中着床并且几乎走完了发育全程,刘洪清这样描述:“它动了。它呼吸了。它冒泡了。而且不仅仅是一个泡沫,我们看到了泡沫、泡沫、泡沫。”[7]。
但囿于“14天规则”(科学家只能在不满14天的胚胎上进行实验)的伦理限制,在后续的实验中,她仅将人类胚胎培育到了第10天。
不过同样因为伦理限制,刘洪清并未正式公开她的实验数据。
虽然刘洪清并未公布她的数据,但在今年3月17日,以色列魏茨曼科学研究所的雅各布·汉纳(Jacob. Hanna)团队在自然杂志上发表了他们的研究,汉纳的团队将五天大的原肠胚前的小鼠胚胎在体外机械胚胎中成功培育到了第11天(这几乎占了小鼠胚胎发育周期的一半长度),使其顺利的长出了心脏、头部和四肢[8]。
汉纳团队设计“全机械”人造子宫 | 参考文献[8]
汉纳团队设计“全机械”人造子宫 | 参考文献[8]
伦理的拷问
虽然伦理问题一直限制着“人造子宫”技术从理论走向现实,但就在今年的5月26日,国际干细胞研究学会(ISSCR)表示将放宽科学家培养人类胚胎的时间。
这或许意味着网友们所期待的“机器造娃”的时代已逐步提上日程。
尽管人造子宫听上去能拯救早产儿,帮助无法生育的家庭孕育属于自己的孩子,甚至能使女性从生育中解放,但体外发育技术难以建立母亲和胎儿之间的情感联结,这或许会造成许多“不负责任“的父母和”缺乏安全感“的孩子。
另外当伦理的界限模糊,“生育”从一种自然状态演变为工业技术时,“造孩子“的资源和权利便有可能落入少数人的手中或统一交由国家来管理,前者无疑会引发严重的社会问题,而后者或许会导致家庭结构的彻底变革。
技术是把双刃剑,在迎接“流水线婴儿“前,我们还需要更多的时间进行伦理学上的思考及辩论。
参考文献
[1]Ferreira, A., The Sexual Politics of Ectogenesis in the To-day and To-morrow Series. Interdisciplinary Science Reviews, 2009. 34(1): p. 32-55.
[2]Greenberg, E.M., Artificial uterus. 1955, US.
[3]Yoshinori, et al., Development of Extrauterine Fetal Incubation System Using Extracorporeal Membrane Oxygenator. 1987. 11(3): p. 224-227.
[4]Partridge, E.A., et al., An extra-uterine system to physiologically support the extreme premature lamb. Nature Communications, 2017. 8(1): p. 15112.
[5]Schultz, J.H., Development of Ectogenesis: How Will Artificial Wombs Affect the Legal Status of a Fetus or Embryo. 2009.
[6]Knight, J., An out of body experience. Nature, 2002. 419(6903): p. 106-107.
[7]Reynolds, G., Artificial Wombs Will we grow babies outside their mothers' bodies? popular science, 2005.
[8]Aguilera-Castrejon, A., et al., Ex utero mouse embryogenesis from pre-gastrulation to late organogenesis. Nature, 2021. 593(7857): p. 119-124.
作者:一只哈代
编辑:Yuki
排版:洗碗
本文来源:我是科学家

扫码下载APP
科普中国APP
科普中国
科普中国